色谱世界在此感谢南京中医药大学钱大玮老师对我们的支持!
本谱图信息来源于钱大玮老师在《药物分析杂志》上发表的文章《桃仁与山桃仁化学成分比较研究》。
标准谱图
混合对照品谱图
色谱峰
内参物 1
十 二 烷 酸 3
十 四 烷 酸 3
十 六 碳 烯 酸 3
棕 榈 酸 3
十 七 烷 酸 3
亚 油 酸 3
油 酸 3
硬 脂 酸 3
二 十 烷 酸 3
色谱条件
登录后可查看色谱条件,请先去登录
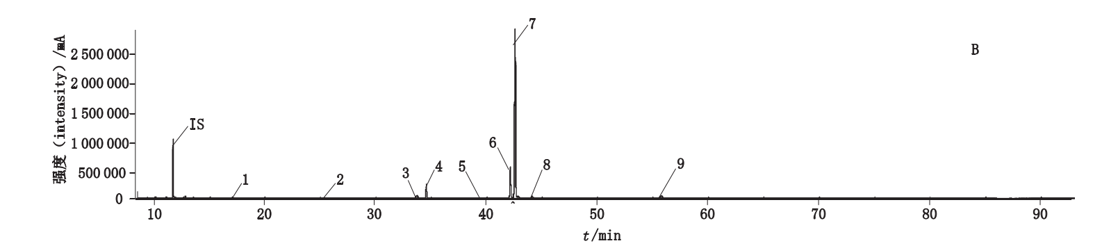
桃仁谱图
色谱峰
内 参 物 2
十 二 烷 酸 3
十 四 烷 酸 3
十 六 碳 烯 酸 3
棕 榈 酸 3
十 七 烷 酸 3
亚 油 酸 3
油 酸 3
硬 脂 酸 3
二 十 烷 酸 3
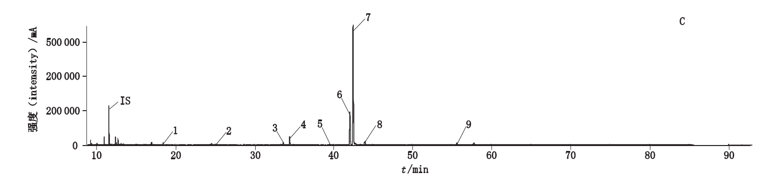
山桃仁谱图
色谱峰
内 参 物 2
十 二 烷 酸 3
十 四 烷 酸 3
十 六 碳 烯 酸 3
棕 榈 酸 3
十 七 烷 酸 3
亚 油 酸 3
油 酸 3
硬 脂 酸 3
二 十 烷 酸 3
试剂及材料
37种 脂 肪 酸 甲 酯 混 合 对 照 品,甲醇、乙醚、正己烷、氢氧化钾、氯化钠、无水硫酸钠均为分析纯,甲酸、乙腈为色谱纯
